Nu mai este un secret faptul că Tim Cook și ai lui doresc dezvoltarea unui headset de realitate augumentată, tehnologie ce ar putea fi inclusă chiar și pe viitorul iPhone. Dacă până acum aceste vești erau doar sub forma de speculație, astăzi avem o dovadă mai solidă și anume un brevet.
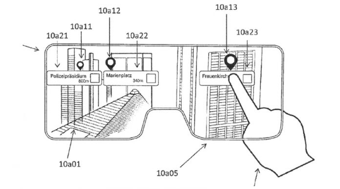
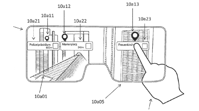
Sunt prezentate aici mai multe situații unde tehnologia AR este folosită inclusiv cea în care produse precum telefoane și tablete sunt utilizare pentru afișarea de informații extra peste lumea reală după cum se poate vedea în schițele de mai jos.

Un exemplu ar fi acela în care este utilizat un smartphone captează mediul înconjurător folosind camera foto iar ulterior pe ecran sunt aplicate informațiile extra de tip AR. Pe lângă aceste mențiuni, Apple face referire în brevetul cu pricina și la o pereche de ochelari semi-transparenți.

Aceștia vor permite utilizatorului să vadă lumea în vreme ce tehnologia de la interior va fi capabilă să suprapună informații digitale peste imaginea văzută de noi. Ideea ne amintește într-un fel de Google Glass, ochelari inteligenți care nu au rupt gura târgului și asta datorită prețului foarte mare și a funcțiilor limitate.
Tehnologia celor de la Apple este încă la începuturi și cunoscându-i pe americani, va mai dura ceva până când totul va fi perfecționat și gata de pus la dispoziția publicului.









