Nici nu s-au lansat bine noile MacBook-uri cu procesoare dedicate M1 și deja apar informații despre următoarele modele. La sfârșitul anului trecut aflam că Apple lucrează la procesoare cu până la 32 de nuclee. Astăzi apar informații despre aspectul noilor laptop-uri, care ar primi o funcție inedită – încărcarea wireless reversibilă. Avem detalii mai jos.
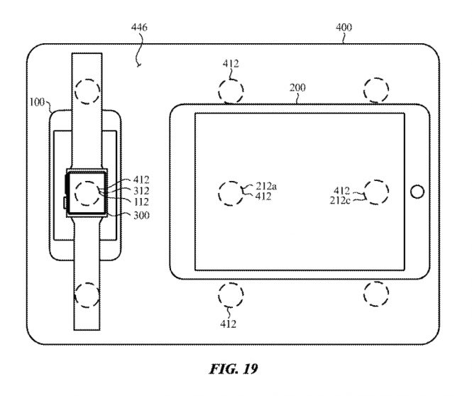
Compania din Cupertino a publicat recent patente care descriu caracteristica de încărcare wireless pentru alte dispozitive Apple. Observăm că vom putea plasa de o parte și de alta a touchpad-ului un Apple Watch și un telefon mobil care suportă încărcare wireless.

Funcția nu este neapărat nouă, am văzut-o deja pe laptopurile Huawei de ceva timp, dar acelea permit încărcarea unui singur dispozitiv plasat pe trackpad.

Posibil să vedem și tablete Apple cu încărcare wireless curând, ținând cont că un iPad apare în schițe. Dacă vă întrebați cum se va încărca o tabletă prin intermediul unui MacBook, aflați că și capacul laptopurilor ar primi caracteristica de încărcare reversibilă.
Când vom vedea noi MacBook-uri de la Apple?
Potrivit Bloomberg, compania plănuiește să lanseze noi cipuri dedicate pentru MacBook, iMac și Mac Pro. Acest lucru s-ar întâmpla abia anul viitor în trimestrul 1 sau 2. La sfârșitul anului trecut, au apărut zvonuri și pe Weibo conform cărora compania va lansa un nou CPU Apple Silicon în a doua jumătate a anullui 2022. Acesta s-ar numi Apple M2 și ar fi cunoscut la nivel intern după numele de cod „Jade„.
Totodată, se zvonește că noile chip-uri vor fi și mai puternice. Conform site-ului nostru soră, Mobilissimo.ro, Apple A1 a reușit să treacă bariera de 1 milion de puncte în AnTuTu, devenind cel mai puternic CPU mobil din lume. Pare-că compania din Cupertino are planuri serioase și chiar nu dorește să se întoarcă la procesoare Intel.









