Cei de la Amazon vor să revoluționeze transportul de colete prin implementarea de drone special create pentru această activitate. Am văzut la un moment dat un clip în care ne era dezvăluit cum decurge un asemenea procedeu și astăzi vedem un brevet al retailerului.
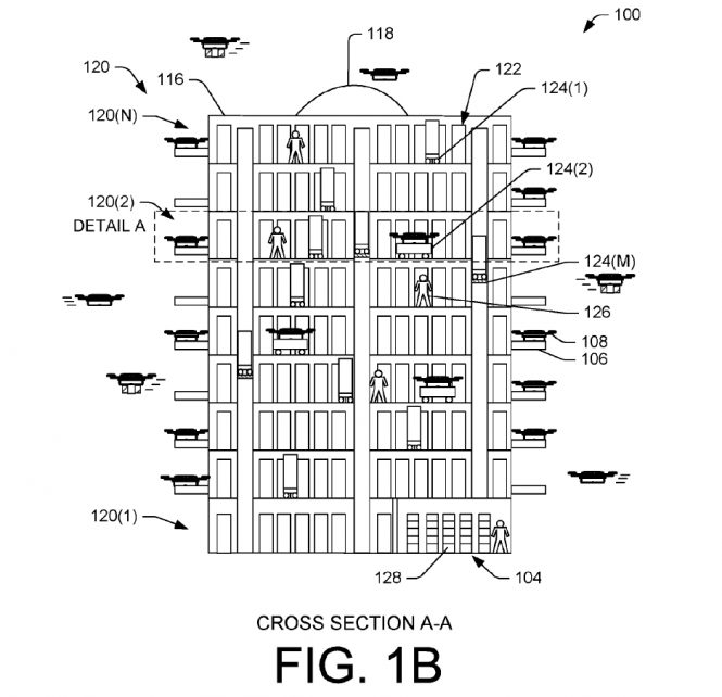
În schițele din această aplicație de brevet completată remarcăm un soi de clădire-turn de unde dronele vor pleca încărcate către clienți cu fel și fel de pachete. La bază se află zona de descărcare a tirurilor de colete, în vreme ce restul clădirii dispune de mici ferestre cu pervaz de unde dronele vor decola și ateriza constant.

Design-ul clădirii și amplasarea acestor zone destinate dronelor ne duce cu gândul la un stup. Amazon dezvăluie în brevet faptul că vor exista uși speciale în drept platformelor de aterizare, uși prin care dronele se vor conecta wireless și care astfel nu vor permite accesul dronelor străine.

Cum pentru moment este vorba doar despre un brevet, șansele să vedem așa ceva transpus în realitate prea curând sunt unele foarte mici. Poate că ideea nu va fi niciodată pusă în practică. Nimeni nu știe.









