Un nou brevet publicat de Sony ne arată ce dotări ar putea avea viitoarea versiune de PlayStation 5. E drept că ne aşteptam să primim un PS5 Slim şi un PS5 Pro în câţiva ani, dar e prima oară când avem şi dovezi concrete. Noul brevet face aluzie la o placă grafică duală şi suport pentru cloud gaming.
Documentele brevetului menţionează un design dual GPU/APU, dar şi o modalitate de a accesa servicii de cloud gaming. Implementarea va fi mai complexă decât la crossfire-ul folosit pe PC-urile actuale, cel puţin conform brevetului. Cele două plăci grafice vor funcţiona într-un stil similar cu plăcile grafice dual core. Un nucleu se va ocupa de randarea grafică şi celălalt se va ocupa cu restul taskurilor de randare. Documentaţia oficială menţionează şi că noua consolă apare în 2 versiuni: una cu GPU Light şi una high end cu două GPU-uri, mai multă stocare şi putere de procesare.

Practic aşteptăm un PlayStation 5 Pro pe viitor cu două placi grafice. Un astfel de setup poate creşte rezoluţia, frame rate-ul şi să aducă experienţa 4K la 120 FPS la care visează toţi consoliştii. Ar trebui să ofere şi un salt pe partea de VR şi să facă eventual şi grafică 8K posibilă într-o bună zi. Brevetul menţionează şi că mediul de simulare multi GPU are două modalităţi de alocare pentru fiecare frame: randat de unităţile GPU sau despărţirea unui frame pentru randare.

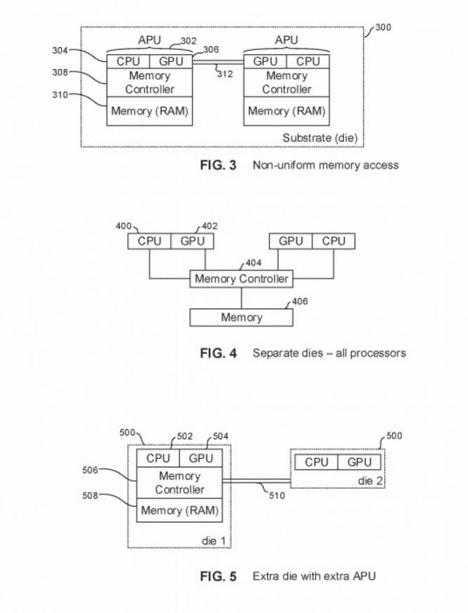
Metoda tradiţională de output foloseşte unul dintre GPU-uri pentru a controla semnalul scos via HDMI. În zona de cloud gaming a brevetului apar şi menţiuni legate de camere, NFC, GPS, biosenzori, senzori meteo şi altele de gen. Tot acolo apare şi menţiunea lui NUMA (Non Uniform Memory Access), o tehnologie care permite ca fiecare grup de APU-uri să aibă propriul său controller de memorie şi memorie independentă. Astfel dispare problema cu aglomerarea de resurse sau multiple nuclee care folosesc un controller.









