E inedit să vedem că Apple Watch a atins succesul cu un cadran şi un corp pătrăţos, când ceasurile sunt în marea majoritate rotunde. Pe viitor am putea totuşi să îi vedem şi pe cei de la Apple trecând la această abordare, judecând după cel mai nou brevet provenit din Cupertino. Acesta face referire la un display mic şi rotund.
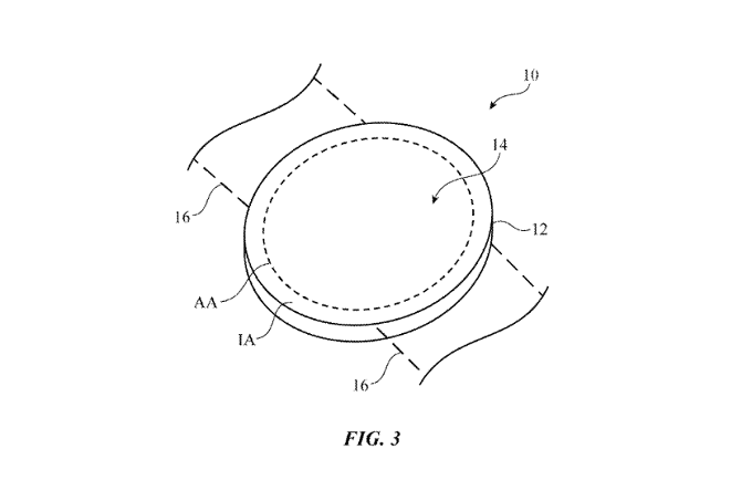
Compania condusă de Tim Cook a primit în această săptămână brevetul „US Patent 9965995”, care face referire la un terminal electronic cu un ecran cu margini curbate. Judecând după schiţele aferente documentului e vorba despre un ecran circular de ceas. În acest moment Apple Watch se bazează pe un ecran pătrăţos de câteva generaţii deja, iar rivalii de la LG sau Motorola au pariat pe cadrane rotunde.

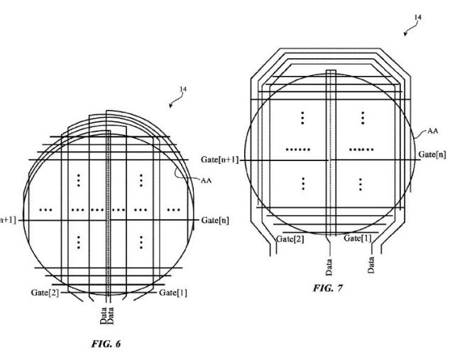
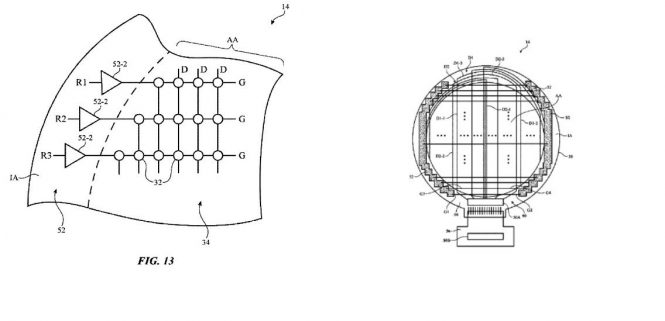
E drept ca un brevet nu e neapărat garanţia autenticităţii şi ar putea fi doar un proiect care nu s-a mai concretizat. Sau ar putea doar un brevet de rezervă, pentru a evita eventualele procese pe viitor. Documentele mai menţionează şi tehnologia necesară unui ecran circular şi problemele ce ar putea apărea. Spre exemplu este menţionat faptul că aranjamentul standard de pixeli destinat unui format dreptunghiular nu se potriveşte pe un ecran circular.

Ecranele circulare pot avea zone unde se „gâtuie” liniile de semnal şi se produce o aglomerare a lor, ceea ce scade eficienţa de utilizare a zonei de afişaj. Ca atare e indicată folosită unui ecran cu margini curbate. Brevetul menţionează şi formaturile unde se aplică invenţia: ceas, pandativ, căşti şi ochelari. Posibil ca un mini ecran de gen, eventual unul micro LED să ajungă pe faimoşii ochelari AR Apple.









